
12月17日,鞠婧祎工作室发布声明,措辞强硬地指控前经纪公司丝芭传媒涉嫌“伪造协议、骚扰合作方” 等不当行为。面对这一指控,丝芭传媒第一时间作出回击益通网,一方面罗列鞠婧祎曾享有的税前过亿优厚待遇,另一方面明确驳斥艺人方的说法“严重失实”,双方隔空交锋迅速引发热议。

艺人鞠婧祎
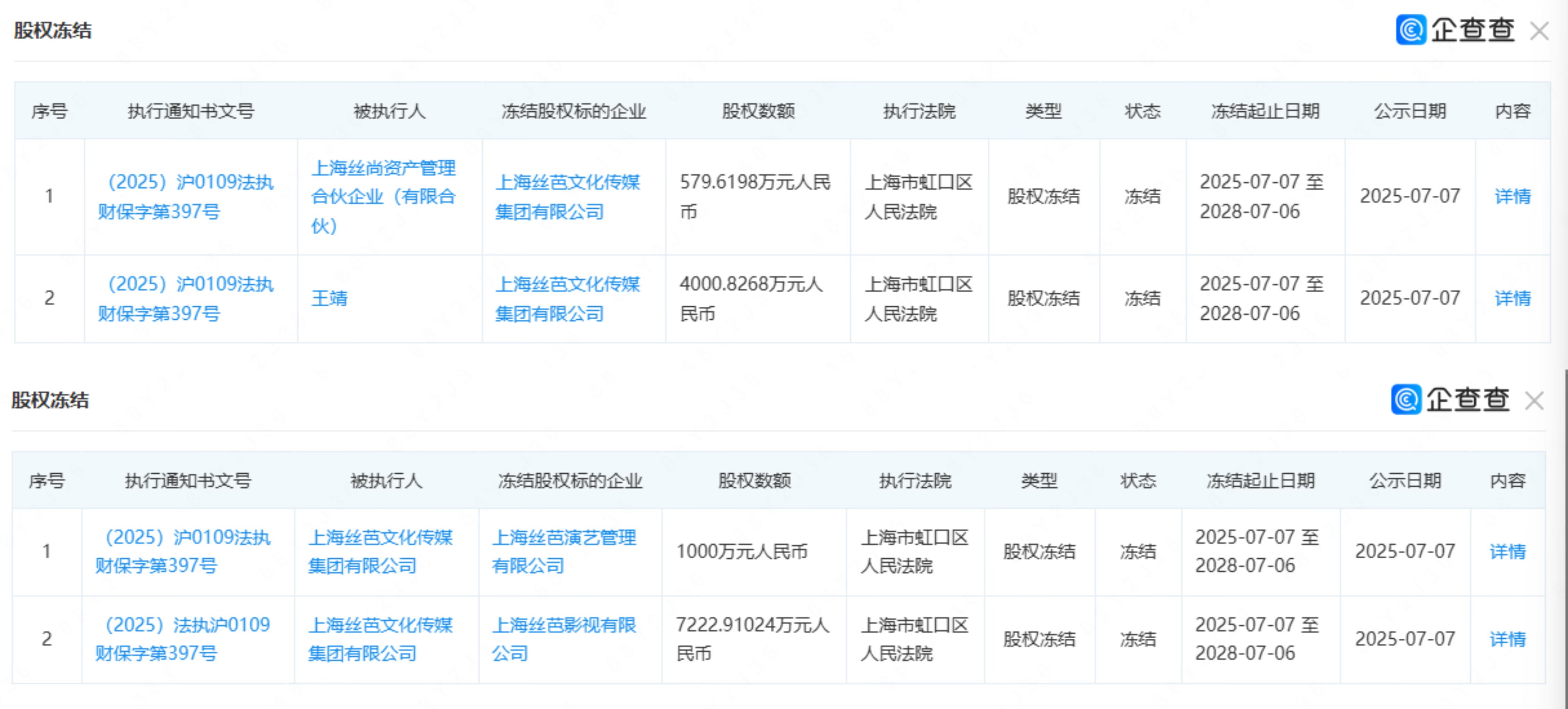
企查查APP显示,丝芭传媒及其董事长王靖成为多起执行案件的被执行人益通网,股权冻结金额累计近1.3亿元,其中涉及上海丝尚资产管理合伙企业(有限合伙)、上海丝芭文化传媒集团有限公司等核心主体,冻结期限均为2025年7月至2028年7月。

企查查APP显示,丝芭传媒及其董事长王靖股权冻结金额累计近1.3亿元
作为曾经的“偶像工厂”掌舵人,王靖关联的25家企业中15家已注销,存续的10家企业多集中于文娱领域,但近年深陷法律纠纷。仅公开信息显示,丝芭传媒涉及数百起诉讼,案由涵盖合同纠纷、劳动争议、不正当竞争等益通网,仅2025 年就有王奕、周诗雨等多位艺人起诉解约。
目前来看,这场持续发酵的解约风波,核心矛盾集中在合约期限有效性与收入分配合理性两大关键点。12月15日,鞠婧祎工作室率先发微博,明确表示双方主合约已于2024年6月18日到期,直指丝芭传媒声称的《专属艺人合约》补充协议系“伪造”。工作室进一步指控,丝芭传媒通过“双重合同”隐瞒真实演艺收入,长期截留艺人分成,并存在无差别骚扰合作方的行为,因此已于2024年6月15日发送《解约函》正式终止合作。

丝芭传媒发布微博晒出证据
面对指控,丝芭传媒于12月16日发布长文声明强势回击,晒出多项证据:自2017年鞠婧祎成立个人工作室单飞后,公司累计投入1.6亿元为其定制打造《芸汐传》等古装大女主剧,截至2024年5月已支付税前收入1.39亿元,另有每月25万元固定工资、上海外滩155平方米江景公寓使用权、奔驰房车配专职司机等福利,甚至全额报销其私人旅游及朋友相关开销。丝芭传媒强调,补充协议经公司委托的第三方鉴定机构确认签名真实,合约期限应延长至2033年8月,指责鞠婧祎“罔顾感恩之心”,散布“被压榨” 谣言误导公众,并透露已就不实言论报警取证,将追究法律责任。
封面新闻记者 朱珠益通网
恒正网配资提示:文章来自网络,不代表本站观点。